濠滨论坛

点击扫描二维码

查看: 3727|回复: 1

苹果可弯曲的柔性电池专利公布,2020年或推出可折叠手机

[复制链接]

该用户从未签到

发表于 2018-4-2 19:31 | 显示全部楼层 |阅读模式 来自:弗吉尼亚州
苹果的柔性电池(flexible battery)新专利公布。
据科技网站Digital Trend报道,苹果柔性电池专利3月29日被美国专利商标局公布。这种柔性电池不仅能更好地适应手机的形状,还能根据一台iPhone内部组件的移动而移动。电池由放置在柔性基底上的电池元件构成,让电池整体可以根据需要弯曲。
此次苹果柔性电池专利的曝光,也从一个侧面印证了苹果正在对可折叠手机进行布局。
此前,华尔街机构曾预测,苹果将于2020年推出可折叠手机;也有分析认为,可折叠手机可能是智能手机的下一个主要特性。

苹果可弯曲的柔性电池专利公布,2020年或推出可折叠手机

苹果可弯曲的柔性电池专利公布,2020年或推出可折叠手机

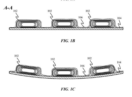
柔性电池专利示意图(点击查看大图)
上述报道中称,这种电池可以用于普通iPhone,它能够充分利用iPhone中的可用空间以延长电池续航时间,也可以用于真正的可折叠设备。

苹果可弯曲的柔性电池专利公布,2020年或推出可折叠手机

苹果可弯曲的柔性电池专利公布,2020年或推出可折叠手机
柔性电池专利示意图
此前华尔街投资银行美银美林曾预测称,苹果正与其亚洲合作伙伴研发可折叠手机,预计2020年推出。

苹果可弯曲的柔性电池专利公布,2020年或推出可折叠手机

苹果可弯曲的柔性电池专利公布,2020年或推出可折叠手机
网友制作的可折叠iPhone概念图
据CNBC 3月23日报道,美银美林分析师Wamsi Mohan当日写给客户的备忘录中称,“我们预计,2018年秋季的iPhone大概率不会改变OLED屏的设计,但会像先前分析师预计的那样有大小上的变化。”
这位分析师还提到,“我们还认为,苹果正在和供应商一起研发可折叠手机(有可能也包括平板),为2020年的发布做准备。”

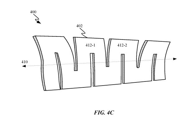
苹果可弯曲的柔性电池专利公布,2020年或推出可折叠手机

苹果可弯曲的柔性电池专利公布,2020年或推出可折叠手机
CNBC 3月23日短视频报道中展示的可折叠手机专利图
分析师和自媒体人都做出过类似预测,认为可折叠手机可能是智能手机的下一个主要特性。CNBC报道称,联想和三星都已经展示过可折叠屏幕的概念机,也有其他公司申请了相关专利,但设备还没有实体化。
此前2017年10月,CNBC曾经报道来自匿名信源的消息称,苹果和LG可能在合作研发可折叠手机。对此两家公司都没有置评。
上述报道中还提到,Mohan表示他不认为苹果的产品会受到中美之间贸易紧张氛围加剧的影响,“由于大量的iPhone和其他电子器件的制造已经在中国完成。”南通0
匿名
发表于 2018-4-3 09:10 | 显示全部楼层 来自:江苏
提示: 作者被禁止或删除 内容自动屏蔽
回复 支持 反对

使用道具 举报

您需要登录后才可以回帖 登录 | 注册

本版积分规则

手机版|无图版|站务联系 | 商务合作 | 平台公约

信息产业部备案:苏ICP备05014191号-1 经营性ICP许可证:苏B2-20110445 苏公网安备 32060202000307号 © 2001-2019 0513.org All Right Reserved.

投诉争议 技术支持:第一互联 GMT+8, 2025-12-17 13:09 , Processed in 0.171470 second(s), 14 queries , MemCache On. 站点统计

快速回复 返回顶部 返回列表