濠滨论坛

点击扫描二维码

查看: 4001|回复: 0

苹果已申请悬浮充电专利:能让iPhone浮在空中充电

[复制链接]

该用户从未签到

发表于 2017-3-3 22:26 | 显示全部楼层 |阅读模式 来自:江苏
美国时间3月2日,美国专利商标局发布了一项苹果的专利申请,披露了苹果至今最炫酷的发明之一——一套悬浮充电系统。
今年1月,在美国举行的消费电子展(CES)上,韩国的LG公司推出了一款“悬浮移动音箱”,立马成了展上的明星。如果苹果真的可以将悬浮和充电结合,那将是比单纯的悬浮音响更实用的设计。

苹果已申请悬浮充电专利:能让iPhone浮在空中充电

苹果已申请悬浮充电专利:能让iPhone浮在空中充电
LG的“悬浮移动音箱”
尽管苹果向来以其保密著称,但在此次的专利文件中,苹果列出了几种可能的应用场景。其中一种应用场景是,用户把iPhone或Apple Watch置于悬浮台上并将其开启,悬浮台就会让iPhone或Apple Watch设备悬浮起来,指示设备正在被充电。用户可以通过设置让苹果设备在充电的同时,在同一平面旋转、垂直翻转等,甚至随着你最爱的iTunes音乐“跳舞”。

苹果已申请悬浮充电专利:能让iPhone浮在空中充电

苹果已申请悬浮充电专利:能让iPhone浮在空中充电
苹果无线悬浮充电模拟图
另一种应用场景是,苹果还可以把这种悬浮台用于苹果商店内,用以展示苹果的产品,让消费者有类似身处科幻电影的体验。
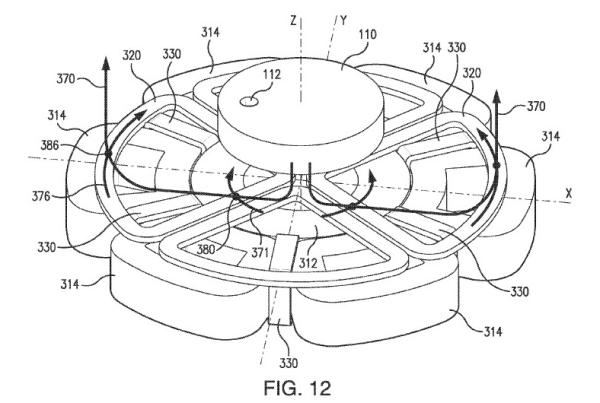
苹果的专利申请中对其构造进行了说明。悬浮系统包括一个线圈组成的悬浮台,在通电时可以产生磁场,同时也包括一个产生磁场的、像永久性磁铁一样的物体,当线圈通电后,这一物体可以被磁场悬浮起来。

苹果已申请悬浮充电专利:能让iPhone浮在空中充电

苹果已申请悬浮充电专利:能让iPhone浮在空中充电
苹果悬浮系统的构造示意图
苹果在专利申请文件中还指出,“悬浮系统中的悬浮台可能将包括能够探测悬浮物位置和动作的传感器,还能够根据悬浮物的位置来对其方位和动作进行调整”。
在一些具体展现的场景中,悬浮感应器中有的部分还可以作为一个部件,做进鼠标里,这样,由鼠标控制的光标就可以通过移动这些部分来进行控制,而不需要真正进行触摸。在这种应用场景中,这种控制器可以被当做控制手柄或虚拟控制器来使用。
但是,这样一个磁场系统的旋转可能引起过热的问题。因此,苹果注明,这种系统的冷却将借助除空气之外的介质,如水或液氮。
苹果的这项专利申请是2015年第三季度提交的。由于这只是一项专利申请,此类产品将何时面世尚不清楚。南通0
您需要登录后才可以回帖 登录 | 注册

本版积分规则

手机版|无图版|站务联系 | 商务合作 | 平台公约

信息产业部备案:苏ICP备05014191号-1 经营性ICP许可证:苏B2-20110445 苏公网安备 32060202000307号 © 2001-2019 0513.org All Right Reserved.

投诉争议 技术支持:第一互联 GMT+8, 2025-12-19 12:57 , Processed in 0.147670 second(s), 14 queries , MemCache On. 站点统计

快速回复 返回顶部 返回列表