
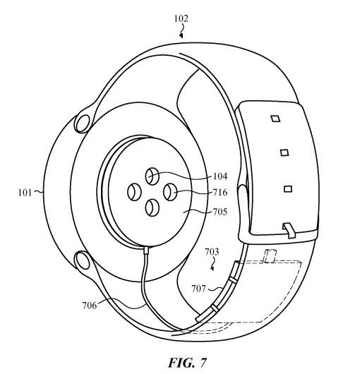
此前苹果发布的智能手表都是方形的,那么它是否会推出圆形手表呢?这个问题现在终于有了答案,据美国专利商标局最新公布的文件显示,苹果正在申请一项名为“可穿戴电子设备充电装置”的技术,专利图片似乎能说明一些问题。 这项技术旨在提高智能手表的电池续航时间,但奇怪的是,专利图片中的手表并不是方形设计。这项技术实际上等于为智能手表添加了一款外部电源,这能让设备的电量使用时间远远超过只使用内部电源。专利描述称,这项技术将把一个独立的“装置”依附在表带上,或者直接嵌入表带中,通过这两种方式为智能手表供 电。 这是苹果针对智能手表表带申请的最新一项专利。上个月,苹果曾申请了另一项有关表带的专利,具体思路是将相机、触摸屏和其他功能添加到表带上。智能手表的机身本来就较小,因此它们的保护套也很小。所以,苹果决定在表带上发挥创意,为表带添加更多功能。 过去苹果的智能手表专利申请图,使用的都是类似Apple Watch的方形智能手表,但是这次的专利申请,则换用了圆形的智能手表。 当然,这有可能只是苹果使用通用的手表外形来展示其技术。但是,图中手表背部的充电区域与Apple Watch保持一致,换句话说,这很有可能就是苹果新款智能手表的造型。 南通0 |