濠滨论坛

点击扫描二维码

查看: 4171|回复: 0

只要一个眼神就可以控制机器?苹果眼球追踪相关专利获批

[复制链接]

该用户从未签到

发表于 2016-9-30 20:20 | 显示全部楼层 |阅读模式 来自:北京
通过接收并识别用户的眼部影像,确定用户视线,再以视线为依据,找到对应在计算机屏幕上的相应区域,最后针对该区域内的任务完成操作。
当地时间9月27日,美国专利及商标局(United States Patent and Trademark Office)公布了一批新的获批专利,其中,苹果公司编号9454225号专利格外引人注目。
这项名为 “基于眼球的显示器控制技术”(gaze-based display control)的专利,可以让用户仅用双眼就可以“隔空”操控各种界面。

只要一个眼神就可以控制机器?苹果眼球追踪相关专利获批

只要一个眼神就可以控制机器?苹果眼球追踪相关专利获批
本文图片均来自美国专利及商标局9454225号专利
在公布的专利文件中提到,这项“基于眼球的显示器控制技术”可以通过3D传感系统,描述人体动作呈现到显示屏上的过程。对于3D传感系统而言,有两个及以上的摄像头同时工作是前提,因为这样才能模仿人眼,输出3D图像。这与苹果公司不久前发布的iPhone 7 Plus不谋而合,其所携带的双摄像头也让手机端的3D景深映射成为可能。
这意味着,苹果公司这项眼球追踪控制技术未来的应用极有可能不局限于大屏的Mac或苹果TV,在手持的iPhone上同样具有想象空间。
苹果在专利文件中详细描述了这套技术对用户视线,以及运动时身体部位的移动轨迹的识别过程。
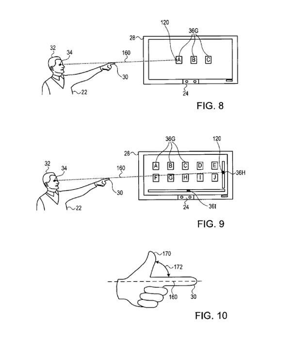
“基于眼球的显示器控制技术”可以检测到用户看向的位置,从而推断出用户下一步动作,避免使用键盘和鼠标等物理输入设备。“电脑系统会呈现出多个交互式选项,计算机的传感设备能够识别用户视线方向,并据此对眼球运动做出回应,在显示屏上打开一个或多个交互式选项。”专利文件中这样描述。

只要一个眼神就可以控制机器?苹果眼球追踪相关专利获批

只要一个眼神就可以控制机器?苹果眼球追踪相关专利获批
除了眼球的识别和跟踪,对手势的理解也是这项专利的重点内容之一。文件中详细描述了一些不同的手势,如点击选择(Point-Select)、点击触摸(Point-Touch)和点击保持(Point-Hold),让用户能够通过手势精准控制显示屏上的的交互界面。

只要一个眼神就可以控制机器?苹果眼球追踪相关专利获批

只要一个眼神就可以控制机器?苹果眼球追踪相关专利获批
比如,用户可以点击触摸屏幕交互界面上的横向滚动条,横向拖动列表;而点击保持手势可以让用户查看上下文内容。当用户用了点击保持手势后,计算机则可以做出相应的反馈。如果是停在某一标志前,电脑则会弹出该项内容的详细信息。
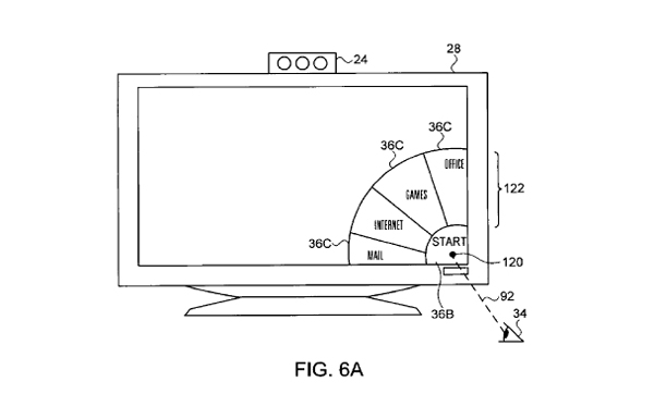
此外,该专利还显示,视线和动作都能控制扬声器:“如果用户看着扬声器上部,计算机就会调大音量;反之则会调小。动作也是一样,当用户用手指向扬声器,方向朝下,计算机就会把音量调小。”

只要一个眼神就可以控制机器?苹果眼球追踪相关专利获批

只要一个眼神就可以控制机器?苹果眼球追踪相关专利获批
现在看来,就目前专利文件公开的内容来看,这项“基于眼球的显示器控制技术”所提及的技术本身所能实现的功能并没有大多让人惊奇的地方。毕竟,在AR领域,物体识别、眼球追踪已并不是什么新鲜的词汇,而苹果公司也早在三年前的2013年8月7日就提交申报了此项专利。除了苹果公司外,其强劲对手Google也曾在两年前发布了一项Project Tango计划,着手在机器理解场景方面开展研究。
相较于专利文件中的技术本身,苹果公司未来会以怎样的方式将这项技术应用于其丰富的产品端更值得关注。结合苹果公司今年5月申请了人机接口相关新技术的行动,完全有理由期待未来可能由苹果再次掀起的人机交互变革。南通0
您需要登录后才可以回帖 登录 | 注册

本版积分规则

手机版|无图版|站务联系 | 商务合作 | 平台公约

信息产业部备案:苏ICP备05014191号-1 经营性ICP许可证:苏B2-20110445 苏公网安备 32060202000307号 © 2001-2019 0513.org All Right Reserved.

投诉争议 技术支持:第一互联 GMT+8, 2025-12-21 02:56 , Processed in 0.167272 second(s), 14 queries , MemCache On. 站点统计

快速回复 返回顶部 返回列表