濠滨论坛

点击扫描二维码

查看: 10978|回复: 30

[科普] 眼药水闪亮不了你的双眼

[复制链接]

该用户从未签到

发表于 2015-10-8 04:27 | 显示全部楼层 |阅读模式 来自:江苏
不管是真的在忙工作,还是假装在忙工作,现代白领几乎全部的工作时间都盯着电脑。一天下来,眼睛累得睁不开不说,还常常干涩得让人难受。怎么办呢?干脆在电脑旁常备一瓶防止视疲劳的眼药水吧!眼睛累了,干涩难受了,点两滴。
. g- A: i* [* ]- |, r& k8 o% T  V5 g; A且慢!这眼药水只是一时滋润了你的眼睛,却缓解不了视疲劳,如果长期使用,里面的防腐剂还有可能让干眼症找上你。(题图:kurumsalhaberler.com。)3 d; I# V& I" J6 ]
干眼症与眼泪所谓的视疲劳,就是很多人工作一段时间后都会明显感觉双眼干涩,有些人甚至会觉得有烧灼感、异物感。这些都是干眼症的典型症状。所谓干眼症,就是眼泪的不足。眼泪可不是只有在你想哭的时候才产生的。我们的泪腺一直在制造眼泪,只不过量比较小,不被我们察觉。
0 V6 R! F& s/ {% A; S当我们眨眼的时候,眼睑会使眼泪在眼球表面形成一层液膜——泪膜,这样我们的眼睛表面才能保持湿润。泪膜可不是一层简单的液膜,它像三明治一样有3层,最表面一层是脂质层,简单说是一层能够阻止泪液蒸发的油;中间一层是等渗的盐水,里面含有多种细胞因子;最内层是粘蛋白层,黏糊糊的让泪膜能够抵抗重力附着在眼睛表面。
: N) q' p  S- \% \; R# l但如果一直睁着眼睛,这层泪膜坚持不了多久就会破裂,而泪膜一旦破裂,眼睛表面就失去液体膜的保护,直接暴露在空气中,各种不舒服就来了。正常情况下,眼睛不适时会自动眨眼,这是因为我们每眨1次眼,就会重新形成一层泪膜。不过如果注意力非常集中,全力解决工作难题或是在网上挖坑灌水织围脖的时候,眨眼的次数会不由自主地减少。长时间下来,眼睛自然就干涩难受了。这种叫做蒸发过强型的干眼症,是办公室里的流行病。当然也有全身或者眼部其他疾病引起的干眼症,这就不是本文讨论了了。, E7 Z  v# `5 a& V% B8 }
人工泪液缓解干眼症干眼症的治疗方法有很多种,由其他疾病引起的,当然要治疗病因;蒸发过强造成的可以通过休息、眨眼、增加空气湿度缓解;如果还不能缓解,那最直接的方法就是补充泪液——人工泪液,也就是大家最常接触到的眼药水。
% M$ j9 F1 J: T) ^人工泪液都会尽可能模拟眼泪的成分和结构。其主要成分就是水,或者说是保湿剂(使水尽量留在眼内)。常用的保湿剂有硫酸软骨素、甲基纤维素、透明质酸钠(玻璃酸钠、 玻尿酸 )、聚乙二醇、等等。它们是高分子材料,能够吸附水,又具有一定的粘性和假可塑性(可以被塑造成立体形状,甚至还能支撑挤靠其他物体,但这种状态只能保持一会儿),能够在眼睛表面成膜分布。市售的人工泪液眼药水里面都会含有上述物质中的一种到几种。
# j; ~, c5 v/ m+ e/ Z有的人工泪液为了模拟眼泪的成分,还会加入类似油脂的成分,比如磷脂的衍生物(编辑注:经 和谐大巴 指正,作者查阅资料后将甘油改为磷脂的衍生物。特此感谢!)。这样的人工泪液更接近于真实的泪液,滴入眼内,可以在泪膜表面补充脂质的成分,增强泪膜的稳定性。* x% s  Y% s/ U* h* l, r- R
人工泪液应该选择尽可能接近眼泪成分的,其他的眼药水并不适合作为人工泪液,比如抗生素眼药水,虽然里面水的成分能够暂时滋润眼睛,但是却不能保持,还在眼表滥用抗生素给自己增加危险。
4 ^9 f, b: U+ P, E+ I+ J另有些含有收缩血管药物的,点入眼内,原本充血的眼表血管迅速收缩,充血看起来减轻了。这对于眼部过敏之类是有意义的,但是对于干眼症或者视疲劳而言,使血管收缩并不能解决问题,只是短期的维稳措施。* O# {( Z+ A$ Q
眼药水里的防腐剂除非一次性使用的眼药水,大多数5毫升或者10毫升的瓶装眼药水中都是含有防腐剂的。防腐剂的引入使我们可以买到相对便宜的眼药水。可即使有防腐剂,《中华人民共和国药典》仍规定滴眼剂开启后使用期限不得超过4周。因此开瓶后1个月的眼药水即使没有用完,也请将它扔掉。
" Y: s2 ?8 R3 ~+ S/ I短期内使用眼药水,其中的防腐剂不会带来什么问题,长期使用的话,却会有各种不良反应。其中之一就是对结膜和角膜表面的细胞有毒性作用。还记得前面说的泪膜“三明治”吧。最内层的粘蛋白是由结膜表面的细胞分泌的,长期使用含防腐剂的眼药水,就可能破坏这个薄膜重要成分的“生产商”,反而加重干眼症。
/ U$ T& T/ z8 y9 I6 T对于需长期使用人工泪液的干眼症患者,医生更推荐单支包装的一次性眼药水,因为这种是不含防腐剂的,但相对的也比较昂贵。: ^% s! a5 f3 t/ N2 T
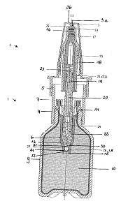
不过也有例外,通过精心设计的眼药瓶是有可能把药水和空气隔绝开,每次只取一滴,而不影响剩余的,这样也可以做到无需防腐剂的。比如专利号为US20040200860A1的专利中描述了一种液流分配系统,看图类似于圆珠笔或者自动铅笔的结构。
( v3 j" O! {0 X" g+ N

专利号为US20040200860A1的眼药水瓶结构示意图。

专利号为US20040200860A1的眼药水瓶结构示意图。
专利号为US20040200860A1的眼药水瓶结构示意图。
6 C$ R0 F& {3 s& |9 M点眼药也是个技术活有了合适的眼药水,该怎么点到眼睛里也是个技术活。不论是给自己点还是给别人点,首先都要把手洗干净。另一个要点就是不要让瓶嘴碰到眼睛,否则就会污染眼药水。5 f" M6 ?, h' Q+ z2 m8 l% E4 ^7 e# q
如果是给别人点眼药的话,正确的方法是,对方仰头,用棉签压住对方的下眼皮,然后让他往上看,这时下眼睑和眼球之间的空隙就会暴露出来,另一只手拿眼药水瓶,抬高,瞄准,轻压一下,点进去一滴即可,多了眼睛里面也放不下,然后让他轻压眼睛的内眼角,关闭泪小管,让眼药在眼睛里多待一会。
0 t% S( i0 y+ i$ @% I& U  h

泪腺及泪液“交通路径”解剖示意图。

泪腺及泪液“交通路径”解剖示意图。
泪腺及泪液“交通路径”解剖示意图。
4 [; h: d" r$ z+ D( A如果是自己点,也是类似的动作,压住下眼皮,往上看,不过之前可以先看正上方,把眼药瓶放到位以后再往上看,不过给自己点还是容易浪费几滴的。 如果要点两种或者两种以上的眼药水,应该至少间隔5-10分钟,不然后一种药水就把前一种眼药给冲走了。
3 E; m9 A$ K' a眼药水的瓶子不可以混用,千万不能把别的东西装进眼药水瓶子里,放眼药的位置也不能够放置其他类似的滴剂,比如点鼻子、耳朵的,甚至什么脚气水,风油精之类的都分开来放,回去检查下家里老人的药箱,经常有把脚气水、风油精误点进眼睛里的这种事情发生。+ M, b, F6 I8 g9 d
温馨提示 :如果使用了某种非处方药(Over The Counter,OTC)的眼药水或者之前医生开过用过的眼药水之后感觉不适再次就医的时候,请务必记录眼药水的名字,如果是老人,请拿着空眼药瓶。
- d: l8 }7 l$ ~/ A" p: G温馨再提示 :眼药水,只是在需要的时候使用。不存在什么可以随便用的眼药水,最重要的是, 不存在什么保健的眼药水
视疲劳的原因很多,最首要的就是工作。药物什么的就像咖啡,能够临时抵抗一下,真正有效的治疗还是靠休息。因此根治视疲劳的方法,是拍着老板的桌子大喊一声“我不干了!”否则在退休之前就是不治之症,总会复发的。
南通0
匿名
发表于 2015-10-8 04:37 | 显示全部楼层 来自:江苏
提示: 作者被禁止或删除 内容自动屏蔽
回复 支持 反对

使用道具 举报

匿名
发表于 2015-10-8 05:04 | 显示全部楼层 来自:江苏
提示: 作者被禁止或删除 内容自动屏蔽
回复 支持 反对

使用道具 举报

匿名
发表于 2015-10-8 05:22 | 显示全部楼层 来自:江苏
提示: 作者被禁止或删除 内容自动屏蔽
回复 支持 反对

使用道具 举报

匿名
发表于 2015-10-8 05:38 | 显示全部楼层 来自:江苏
提示: 作者被禁止或删除 内容自动屏蔽
回复 支持 反对

使用道具 举报

匿名
发表于 2015-10-8 05:53 | 显示全部楼层 来自:江苏
提示: 作者被禁止或删除 内容自动屏蔽
回复 支持 反对

使用道具 举报

匿名
发表于 2015-10-8 06:08 | 显示全部楼层 来自:江苏
提示: 作者被禁止或删除 内容自动屏蔽
回复 支持 反对

使用道具 举报

匿名
发表于 2015-10-8 06:30 | 显示全部楼层 来自:江苏
提示: 作者被禁止或删除 内容自动屏蔽
回复 支持 反对

使用道具 举报

匿名
发表于 2015-10-8 06:52 | 显示全部楼层 来自:江苏
提示: 作者被禁止或删除 内容自动屏蔽
回复 支持 反对

使用道具 举报

匿名
发表于 2015-10-8 07:21 | 显示全部楼层 来自:江苏
提示: 作者被禁止或删除 内容自动屏蔽
回复 支持 反对

使用道具 举报

该用户从未签到

发表于 2015-10-8 07:44 | 显示全部楼层 来自:江苏
有效期4周,之前都木有注意过,直到用完……
& n! l6 i& C6 m2 r- r那所谓的眼结石是不是就是“三明治”最里层的粘蛋白层脱落黏在眼球上的捏?
回复 支持 反对

使用道具 举报

匿名
发表于 2015-10-8 08:07 | 显示全部楼层 来自:江苏
提示: 作者被禁止或删除 内容自动屏蔽
回复 支持 反对

使用道具 举报

匿名
发表于 2015-10-8 08:27 | 显示全部楼层 来自:江苏
提示: 作者被禁止或删除 内容自动屏蔽
回复 支持 反对

使用道具 举报

匿名
发表于 2015-10-8 08:47 | 显示全部楼层 来自:江苏
提示: 作者被禁止或删除 内容自动屏蔽
回复 支持 反对

使用道具 举报

匿名
发表于 2015-10-8 09:03 | 显示全部楼层 来自:江苏
提示: 作者被禁止或删除 内容自动屏蔽
回复 支持 反对

使用道具 举报

匿名
发表于 2015-10-8 09:26 | 显示全部楼层 来自:江苏
提示: 作者被禁止或删除 内容自动屏蔽
回复 支持 反对

使用道具 举报

匿名
发表于 2015-10-8 09:52 | 显示全部楼层 来自:江苏
提示: 作者被禁止或删除 内容自动屏蔽
回复 支持 反对

使用道具 举报

匿名
发表于 2015-10-8 10:17 | 显示全部楼层 来自:江苏
提示: 作者被禁止或删除 内容自动屏蔽
回复 支持 反对

使用道具 举报

匿名
发表于 2015-10-8 10:34 | 显示全部楼层 来自:江苏
提示: 作者被禁止或删除 内容自动屏蔽
回复 支持 反对

使用道具 举报

匿名
发表于 2015-10-8 11:01 | 显示全部楼层 来自:江苏
提示: 作者被禁止或删除 内容自动屏蔽
回复 支持 反对

使用道具 举报

匿名
发表于 2015-10-8 11:17 | 显示全部楼层 来自:江苏
提示: 作者被禁止或删除 内容自动屏蔽
回复 支持 反对

使用道具 举报

匿名
发表于 2015-10-8 11:43 | 显示全部楼层 来自:江苏
提示: 作者被禁止或删除 内容自动屏蔽
回复 支持 反对

使用道具 举报

匿名
发表于 2015-10-8 12:05 | 显示全部楼层 来自:江苏
提示: 作者被禁止或删除 内容自动屏蔽
回复 支持 反对

使用道具 举报

匿名
发表于 2015-10-8 12:25 | 显示全部楼层 来自:江苏
提示: 作者被禁止或删除 内容自动屏蔽
回复 支持 反对

使用道具 举报

您需要登录后才可以回帖 登录 | 注册

本版积分规则

手机版|无图版|站务联系 | 商务合作 | 平台公约

信息产业部备案:苏ICP备05014191号-1 经营性ICP许可证:苏B2-20110445 苏公网安备 32060202000307号 © 2001-2019 0513.org All Right Reserved.

投诉争议 技术支持:第一互联 GMT+8, 2025-12-18 08:09 , Processed in 0.253771 second(s), 16 queries , MemCache On. 站点统计

快速回复 返回顶部 返回列表