濠滨论坛

点击扫描二维码

查看: 1386|回复: 0

助力南通最美12景 抢搏击争霸赛现场VIP门票&濠滨新年第一波限量台历结果出炉

[复制链接]
  • TA的每日心情
    开心
    2014-1-6 17:52
  • 签到天数: 4 天

    [LV.2]偶尔看看I

    发表于 2014-12-1 10:53 | 显示全部楼层 |阅读模式 来自:江苏
    : t4 B+ J6 R: e! k0 h
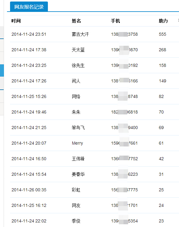
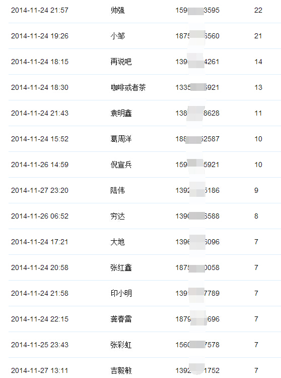
         “助力南通最美12景 抢世界搏击争霸赛现场VIP门票&濠滨2015年第一波限量台历”活动自从推出后,受到了大家的热力追捧,在这里感谢大家的大力支持!而第一波抢台历活动知道得太晚了没来得及报名怎么办?没关系,咱们还会有后续的新活动,抢南通最美12美景台历,过最有南通味儿的年!7 g4 b# r( ]1 u3 C0 W& A5 f
    5 a' Q. d- o) D
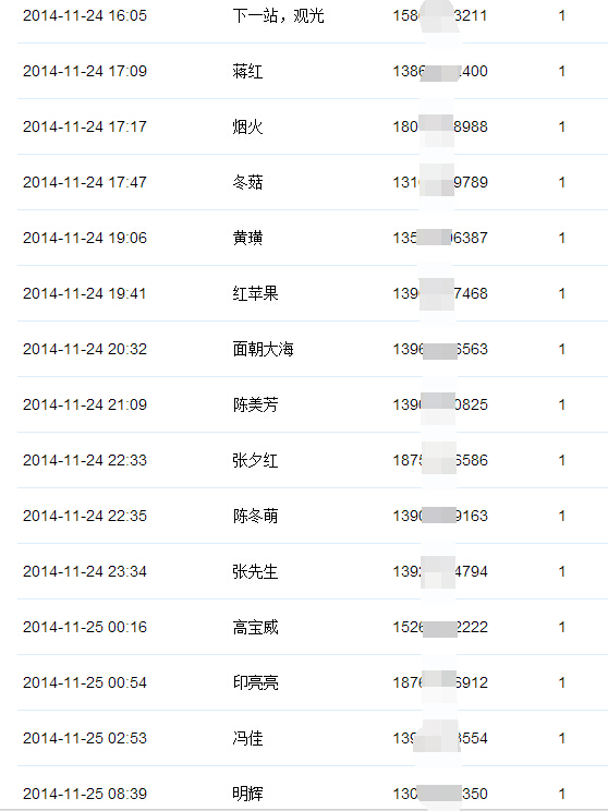
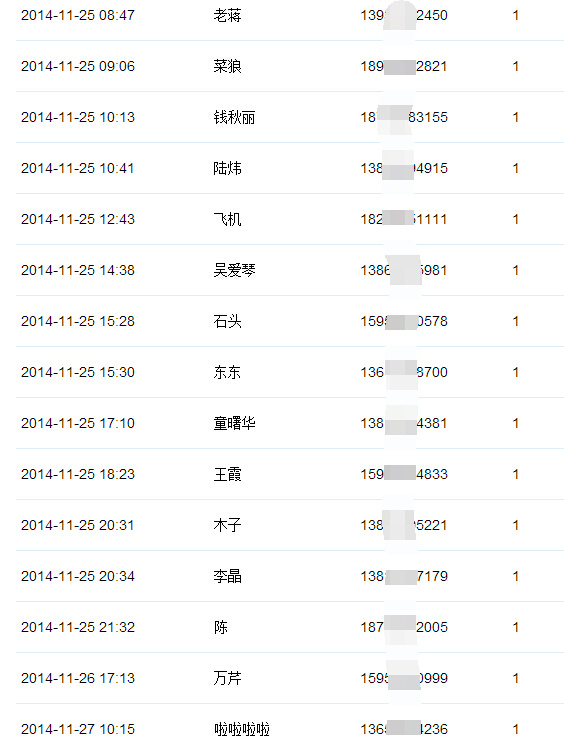
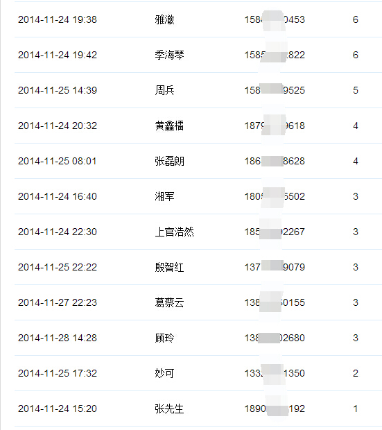
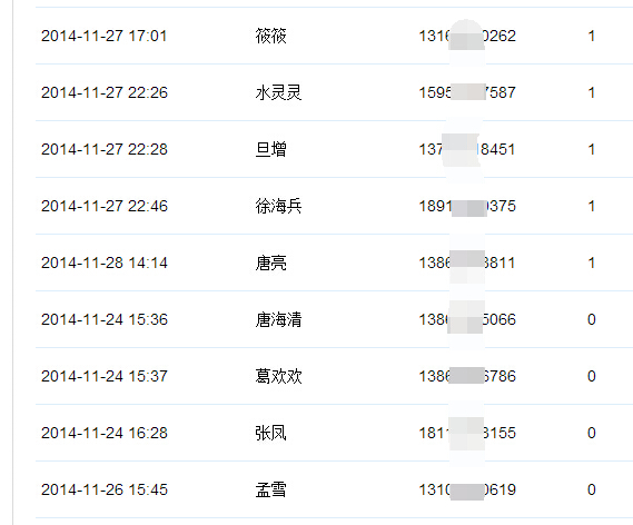
          按照国际惯例,啰嗦了这么一大推,应该给大家公布一下获奖名单,涉及到隐私问题,已经马赛克掉了手机号码中间的几位数,其余的大家对号入座咯~
    . ?$ Q) X- q: q+ d5 n9 N, }8 u. C# k/ ?2 B  ]
    11.jpg

    " [8 A/ @: F% h+ j' o3 [
    22.jpg
    ) t& q% R- b  v# V
    33.jpg
    6 v) }2 r0 s$ O% X6 G2 A/ v5 F
    44.jpg

    , M. U1 P2 q: h+ i3 D- V
    55.jpg

    & b& d8 y& F( b" S
    66.jpg
    % V4 ^" V7 R4 V

    6 o% J+ x4 D  i$ e7 s
          如果大家觉得意犹未尽,可以继续关注论坛的新活动,并且参与到“醉爱江海风 绝美南通景 南通最美12美景有奖征集 参与更有纪念台历免费赠送!”活动中来!                   

    ( i3 ^' X7 v2 ~: m0 o- o& f
    ) B$ ]3 e; z& i% I3 i3 `/ f& w' L- z+ j
    南通0
    您需要登录后才可以回帖 登录 | 注册

    本版积分规则

    手机版|无图版|站务联系|商务合作

    信息产业部备案:苏ICP备05014191号-1 经营性ICP许可证:苏B2-20110445 苏公网安备 32060202000307号 © 2001-2019 0513.org All Right Reserved.

    投诉争议 技术支持:第一互联 GMT+8, 2025-12-21 21:22 , Processed in 1.001177 second(s), 15 queries , MemCache On. 站点统计

    快速回复 返回顶部 返回列表